Search

Home / NOVKMJVZ / Optoelectronic Products
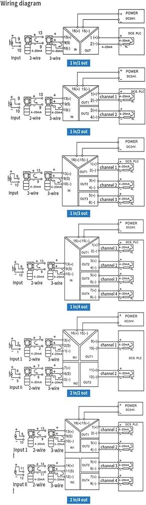
Galvanic Signal Isolator 1 in 4 Out 4 20ma Analog Signal Splitter(0-10V in and Out_1 in 2 Out) in Kuwait Galvanic Signal Isolator 1 in 4 Out 4 20ma Analog Signal Splitter(0-10V in and Out_1 in 2 Out) in Kuwait Galvanic Signal Isolator 1 in 4 Out 4 20ma Analog Signal Splitter(0-10V in and Out_1 in 2 Out) in Kuwait Galvanic Signal Isolator 1 in 4 Out 4 20ma Analog Signal Splitter(0-10V in and Out_1 in 2 Out) in Kuwait

Galvanic Signal Isolator 1 in 4 Out 4 20ma Analog Signal Splitter(0-10V in and Out_1 in 1 Out)

KWD 23

Brand
NOVKMJVZ
Weight
202 g
Color24VDC
Size0-10V IN AND OUT_1 IN 1 OUT
1 +

Special Features

  • Isolator

Description

Isolator
Power supply voltage range:
18~32V DC (Recommended voltage:24V DC)
85~265V AC(OR 120~360V DC)
Insulation resistance
1000M (Input /Output /Power)
Dielectric strength
3000VAC (Input /Output /Power,1mA leakage current, 1 minute test time)

Related Items


{"error":"Error","cart_limit":"You have too many items in your cart.","prod_limit":"You cannot add any more of this item"}